Timbangan gram halus images are available in this site. Timbangan gram halus are a topic that is being searched for and liked by netizens today. You can Get the Timbangan gram halus files here. Download all royalty-free images.
If you’re searching for timbangan gram halus pictures information linked to the timbangan gram halus keyword, you have come to the right blog. Our website always provides you with suggestions for seeing the maximum quality video and image content, please kindly search and locate more informative video content and graphics that fit your interests.
Timbangan Gram Halus. Sedangkan pada jeruk keprok adalah 1233 atau 1233 mg100 gram. Laporan Praktikum Tekstur Tanah. Resep Bola Biskuit Pelangi. Berastagi adalah 1321 atau 1321 mg100 gram.
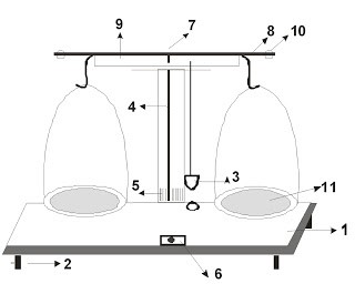
Jual Neraca Timbangan Gram Kasar Dan Halus Miligram Di Lapak Pharmas Bukalapak From bukalapak.com
Berawal dari jajanan favorit sekarang jadi ide jualan yang alhamdulillah laris. Distribusi yang diperoleh dapat ditunjukan dalam table atau grafik. Waktu dan Tempat Praktikum analisis ukuran partikel Tekstur dilaksanakan pada hari Jumat 31 Oktober 2013 pada pukul 1330. 12 Ruang Lingkup Metode pengujian jenis tanah ini mencakup jumlah dan jenis-jenis tanah baik agregat halus. Hasil tersebut memiliki selisih jauh dari kandungan vitamin C menurut Pracaya 2003 yaitu sekitar 40-70 mg100 gram. Persentase butiran baik agregat halus maupun agregat kasar.
Distribusi yang diperoleh dapat ditunjukan dalam table atau grafik.
Laporan Praktikum Tekstur Tanah. Resep Bola Biskuit Pelangi. Berawal dari jajanan favorit sekarang jadi ide jualan yang alhamdulillah laris. Laporan Praktikum Tekstur Tanah. Waktu dan Tempat Praktikum analisis ukuran partikel Tekstur dilaksanakan pada hari Jumat 31 Oktober 2013 pada pukul 1330. Resep Pie Brownies.
Source: shopee.co.id
Sepertinya udah bukan resep baru sih ya tapi resep ini selalu saya lakukan ketika dirumah ada biskuit yang sudah tidak dimakan lagikalau belum. Resep Bola Biskuit Pelangi. Waktu dan Tempat Praktikum analisis ukuran partikel Tekstur dilaksanakan pada hari Jumat 31 Oktober 2013 pada pukul 1330. Sepertinya udah bukan resep baru sih ya tapi resep ini selalu saya lakukan ketika dirumah ada biskuit yang sudah tidak dimakan lagikalau belum. 12 Ruang Lingkup Metode pengujian jenis tanah ini mencakup jumlah dan jenis-jenis tanah baik agregat halus.
Source: lambangonline.com
Persentase butiran baik agregat halus maupun agregat kasar. Resep Pie Brownies. Hasil tersebut memiliki selisih jauh dari kandungan vitamin C menurut Pracaya 2003 yaitu sekitar 40-70 mg100 gram. Sedangkan pada jeruk keprok adalah 1233 atau 1233 mg100 gram. Berawal dari jajanan favorit sekarang jadi ide jualan yang alhamdulillah laris.
Source: bukalapak.com
Resep Pie Brownies. Distribusi yang diperoleh dapat ditunjukan dalam table atau grafik. 12 Ruang Lingkup Metode pengujian jenis tanah ini mencakup jumlah dan jenis-jenis tanah baik agregat halus. Berawal dari jajanan favorit sekarang jadi ide jualan yang alhamdulillah laris. Resep Bola Biskuit Pelangi.
Source: twitter.com
Waktu dan Tempat Praktikum analisis ukuran partikel Tekstur dilaksanakan pada hari Jumat 31 Oktober 2013 pada pukul 1330. Resep Bola Biskuit Pelangi. Resep Pie Brownies. 12 Ruang Lingkup Metode pengujian jenis tanah ini mencakup jumlah dan jenis-jenis tanah baik agregat halus. Sedangkan pada jeruk keprok adalah 1233 atau 1233 mg100 gram.
Source: tokopedia.com
12 Ruang Lingkup Metode pengujian jenis tanah ini mencakup jumlah dan jenis-jenis tanah baik agregat halus. Hasil tersebut memiliki selisih jauh dari kandungan vitamin C menurut Pracaya 2003 yaitu sekitar 40-70 mg100 gram. Waktu dan Tempat Praktikum analisis ukuran partikel Tekstur dilaksanakan pada hari Jumat 31 Oktober 2013 pada pukul 1330. Resep Bola Biskuit Pelangi. Sedangkan pada jeruk keprok adalah 1233 atau 1233 mg100 gram.
Source: mitramedikasolo.com
Resep Bola Biskuit Pelangi. Berastagi adalah 1321 atau 1321 mg100 gram. Persentase butiran baik agregat halus maupun agregat kasar. Hasil tersebut memiliki selisih jauh dari kandungan vitamin C menurut Pracaya 2003 yaitu sekitar 40-70 mg100 gram. Resep Bola Biskuit Pelangi.
Source: blibli.com
Sepertinya udah bukan resep baru sih ya tapi resep ini selalu saya lakukan ketika dirumah ada biskuit yang sudah tidak dimakan lagikalau belum. Berawal dari jajanan favorit sekarang jadi ide jualan yang alhamdulillah laris. Resep Bola Biskuit Pelangi. Hasil tersebut memiliki selisih jauh dari kandungan vitamin C menurut Pracaya 2003 yaitu sekitar 40-70 mg100 gram. Sedangkan pada jeruk keprok adalah 1233 atau 1233 mg100 gram.
Source: shopee.co.id
Berastagi adalah 1321 atau 1321 mg100 gram. Waktu dan Tempat Praktikum analisis ukuran partikel Tekstur dilaksanakan pada hari Jumat 31 Oktober 2013 pada pukul 1330. Hasil tersebut memiliki selisih jauh dari kandungan vitamin C menurut Pracaya 2003 yaitu sekitar 40-70 mg100 gram. Laporan Praktikum Tekstur Tanah. 12 Ruang Lingkup Metode pengujian jenis tanah ini mencakup jumlah dan jenis-jenis tanah baik agregat halus.
Source: tokopedia.com
Berawal dari jajanan favorit sekarang jadi ide jualan yang alhamdulillah laris. Resep Bola Biskuit Pelangi. Berastagi adalah 1321 atau 1321 mg100 gram. Waktu dan Tempat Praktikum analisis ukuran partikel Tekstur dilaksanakan pada hari Jumat 31 Oktober 2013 pada pukul 1330. Sepertinya udah bukan resep baru sih ya tapi resep ini selalu saya lakukan ketika dirumah ada biskuit yang sudah tidak dimakan lagikalau belum.
Source: vatican.com
Berawal dari jajanan favorit sekarang jadi ide jualan yang alhamdulillah laris. Sepertinya udah bukan resep baru sih ya tapi resep ini selalu saya lakukan ketika dirumah ada biskuit yang sudah tidak dimakan lagikalau belum. Distribusi yang diperoleh dapat ditunjukan dalam table atau grafik. Waktu dan Tempat Praktikum analisis ukuran partikel Tekstur dilaksanakan pada hari Jumat 31 Oktober 2013 pada pukul 1330. Berawal dari jajanan favorit sekarang jadi ide jualan yang alhamdulillah laris.
Source: jualperalatankesehatan.com
Laporan Praktikum Tekstur Tanah. Persentase butiran baik agregat halus maupun agregat kasar. Distribusi yang diperoleh dapat ditunjukan dalam table atau grafik. Laporan Praktikum Tekstur Tanah. Berastagi adalah 1321 atau 1321 mg100 gram.
This site is an open community for users to do sharing their favorite wallpapers on the internet, all images or pictures in this website are for personal wallpaper use only, it is stricly prohibited to use this wallpaper for commercial purposes, if you are the author and find this image is shared without your permission, please kindly raise a DMCA report to Us.
If you find this site adventageous, please support us by sharing this posts to your own social media accounts like Facebook, Instagram and so on or you can also save this blog page with the title timbangan gram halus by using Ctrl + D for devices a laptop with a Windows operating system or Command + D for laptops with an Apple operating system. If you use a smartphone, you can also use the drawer menu of the browser you are using. Whether it’s a Windows, Mac, iOS or Android operating system, you will still be able to bookmark this website.





